Затворы дисковые поворотные SYLAX для пожаротушения

Технические оборудование является одной из составляющих системы противопожарной защиты. В его числе:
- первичные средства пожаротушения
- автоматические устройства для предупреждения возгораний, обнаружения очага и тушения пожаров
- мобильная техника
- противопожарное водоснабжение
Последнее, в свою очередь, кроме осуществления хозяйственно-питьевых нужд, обеспечивает доставку необходимого количества воды для полной ликвидации пожара.
Неотъемлемой частью противопожарного водоснабжения является запорная арматура, обеспечивающая его бесперебойное функционирование в чрезвычайных ситуациях, в числе которой – заслонки дисковые поворотные типа SYLAX, выпускаемые ведущим производителем – датской компанией Danfoss.
Конструкция
Они относятся к новому поколению запорной арматуры и оборудованы запорным органом, выполненным в виде диска, который изменяет проходное сечение, благодаря вращению вокруг своей оси. Расположение оси может быть перпендикулярным или же под небольшим углом по отношению к направлению движения рабочей среды. Такие заслонки применяются, как правило, на трубопроводах, имеющих большой диаметр при невысоком давлении.
Отсутствие сальников исключает даже малейшие утечки воды, что значительно снижает затраты, направленные на обслуживание арматуры и контроль за ее исправностью.
Соединение поворотных заслонок с системой производится между фланцами, благодаря имеющимся 4 центрирующим проушинам. При этом применение дополнительных прокладок не требуется, так как эту функцию выполняет седловое уплотнение (футеровка), защищающее корпус от воздействия воды.
Отличная герметичность обеспечивается самоцентрирующимся диском, находящимся в закрытом положении, за счет чего во многом увеличивается срок службы футеровки.
Передача высокого крутящегося момента обеспечивается с помощью шлицевого соединения. При этом мертвый ход отсутствует.
Каждая деталь заслонок изготовлена из высокопрочного материала: алюминия, серого чугуна, тефлона, нитрила, стали как нержавеющей, так и оцинкованной. Высокое качество продукции фирмы Danfoss подтверждается соответствующим сертификатом, что обеспечивает длительный срок эксплуатации.
Виды заслонок для пожаротушения
Поворотный диск, в зависимости от типа заслонки, приводится в движение:
- ручным рычагом;
- ручным редукционным приводом;
- электроприводом,
- пневмоприводом.
Технические и эксплуатационные характеристики:
- допустимое рабочее давление – 16 бар;
- рабочая среда – вода;
- герметичность класса А;
- температура -10…+110°С;
- легкость техобслуживания;
- возможность установки в любом положении;
- высокая взаимозаменяемость узлов.
Этот вид запорной арматуры являются оптимальным решением для инженерных коммуникаций.

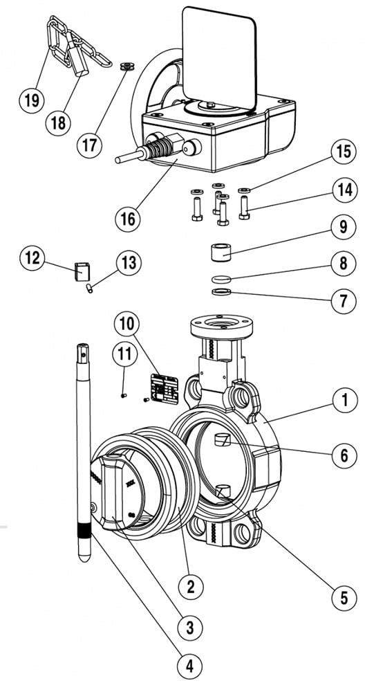
| № | Наименование | Материал | EN | JIS |
|---|---|---|---|---|
| 1 | Корпус | Серый чугун | EN GJL 250 | FC25 |
| 2 | Футеровка | EPDM | ||
| 3 | Диск | Высокопрочный чугун | EN GJS 400-15 | FCD40 |
| 4 | Шток | Нержавеющая сталь | X30 Cr13 | SUS 420 J2 |
| 5-6 | Антифрикционные подшипники | Оцинкованная сталь + PTFE | ||
| 7 Защитная шайба | ||||
| Нержавеющая сталь | X5 CrNi 18-10 | SUS 304 | ||
| Пластмасса | IXEF 50 FV | |||
| 8 | Уплотнительное кольцо | Нитрил | ||
| 9 | Втулка | Латунь | CuZn39Pb2 | |
| 10 | Металлическая этикетка | Алюминий | EN AW - AL995 | |
| 11 | Заклепки | Алюминий/сталь | ||
| 12 | Квадратная втулка | Сталь | ||
| 13 | Шпонка | Сталь | ||
| 14 | Болт | Оцинкованная сталь | ||
| 15 | Шайба | Оцинкованная сталь | ||
| 16 | Редуктор | Алюминий | ||
| 17 | Плоска шайба | Оцинкованная сталь | ||
| 18 | Замок | Сталь+латунь | ||
| 19 | Цепь | Сталь |
| DN | |||||||||
|---|---|---|---|---|---|---|---|---|---|
| KV, м3/ч | |||||||||
| 10° | 20° | 30° | 40° | 50° | 60° | 70° | 80° | 90° | |
| 50 | - | - | 1 | 8 | 18 | 33 | 54 | 71 | 79 |
| 65 | - | - | 6 | 19 | 41 | 76 | 118 | 158 | 174 |
| 80 | - | 3 | 18 | 43 | 79 | 138 | 211 | 252 | 275 |
| 100 | - | 15 | 38 | 83 | 154 | 253 | 368 | 458 | 496 |
| 125 | - | 20 | 61 | 134 | 249 | 399 | 599 | 792 | 883 |
| 150 | 5 | 37 | 100 | 200 | 374 | 600 | 863 | 1109 | 1212 |
| 200 | 15 | 76 | 200 | 399 | 680 | 1099 | 1666 | 2196 | 2500 |
| 250 | 40 | 150 | 333 | 621 | 1084 | 1765 | 2652 | 3517 | 3948 |
| 300 | 60 | 219 | 500 | 989 | 1736 | 2770 | 4097 | 5118 | 5635 |

| DN, мм | A, мм | B, мм | C, мм | D, мм | E, мм | Macca, кг |
|---|---|---|---|---|---|---|
| Центрирующие проушины | ||||||
| 50 | 62 | 294 | 118 | 43 | 125 | 4,5 |
| 65 | 70 | 303 | 118 | 46 | 125 | 4,7 |
| 80 | 89 | 309 | 118 | 46 | 125 | 4,8 |
| 100 | 106 | 333 | 118 | 52 | 125 | 7,0 |
| 125 | 120 | 348 | 118 | 56 | 125 | 8,2 |
| 150 | 132 | 361 | 118 | 56 | 125 | 9,1 |
| 200 | 164 | 419 | 205 | 60 | 200 | 17,5 |
| 250 | 200 | 444 | 205 | 68 | 200 | 21,0 |
| 300 | 238 | 469 | 205 | 78 | 200 | 30,3 |
