Клапаны обратные, тип 882, система 02

Клапаны обратные, тип 882 (система 02) - обратная арматура, которая может прекрасно выполнять свои функции при нормальном режиме работы, например, когда обьеденяют напорные линии насосов. В этом случае на каждой линии устанавливают свои обратный клапан, который защищает линию от давления других насосов. Также клапаны обратные, тип 882, система 02 защитят линию при аварийной ситуации, например, когда на одном участке падает давление, клапан автоматически закроется, и будет сохранять давление в остальных участках, тем самым не допустит движение жидкости (среды) в обратную сторону.
Составляющие детали клапана производятся из различных металлов и сплавов. Для этого может использоваться латунь, бронза, титан, высокотемпературная ферритная сталь, неметаллические материалы, чугуны. Также различные стали (нержавеющая, легированная, аустенитная), сплавы, которые устойчивые к коррозии и высоким температурам.
Для герметичности затворов, которые устанавливаются в клапаны обратные, тип 882, система 02, используются специальные уплотнители. Для их производства может использоваться резина, пластмасса. Также затворы могут быть с нанесением специальных сталей или твердых сплавов, которые защищают затворы от коррозии.
Характеристики обратной арматуры
- Клапаны обратного действия не создают гидравлических ударов.
- Уровень потери напора очень низкий.
- Благодаря уплотнителям, которые устанавливаются на затворы, обеспечивается прекрасная герметичность внутри системы.
Подпружиненные клапаны обратные, тип 882, система 02 могут работать в любом положении, в котором они установлены (и горизонтальном, и вертикальном). Неподпружиненные клапаны имеют ниже давление, чем подпружиненные, поэтому они должны устанавливаться в вертикальном положении, при этом направление среды должно быть восходящим.
- Клапаны имеют компактные размеры.
- Выдерживают температуру от +10 до +100 градусов.
- Клапаны обратные, тип 882, система 02 используются в среде с чистыми жидкостями.
- Изготавливаются с соблюдением всех норм, гостов и международных стандартов. Имеют сертификаты качества.
Технические характеристики
- Соединение: для установки между фланцами (см. таблицу)
- Допустимое рабочее давление PFA для воды (снабжение, распределение и потребление воды): см. таблицу
- Температура: -10...+100 °С
- Рабочая среда: чистые жидкости
- Сертификаты: VERITAS (France); ACS (France); Conformity (Europe)
- Международные строительные стандарты: CE Conformity Directive 97/23/CE
- Исполнение фланцев согласно EN1092-2 (соответствует ГО—Т 12815)
| Код | DN, мм | PN | PFA, бар | Давление открытия, мм водного столба | Kv, м3/ч | ζ | ||
|---|---|---|---|---|---|---|---|---|
| ↑ | ↓ | ↔ | ||||||
| 149B3040 | 65 | 16/25/40 | 40 | 400 | 250 | 50 | 136,0 | 1,50 |
| 149B3041 | 80 | 16/25/40 | 40 | 350 | 200 | 50 | 200,0 | 1,60 |
| 149B3042 | 100 | 16/25/40 | 40 | 300 | 190 | 50 | 265,0 | 2,30 |
| 149B3043 | 125 | 16/25/40 | 40 | 250 | 20 | 100 | 265,0 | 5,70 |
| 149B3044 | 150 | 16/25/40 | 40 | 200 | 15 | 100 | 347,0 | 6,80 |
| 149B3045 | 200 | 10/16 | 16 | 200 | 15 | 100 | 550,0 | 8,30 |
| 149B007936 | 200 | 25 | 25 | 200 | 15 | 100 | 550,0 | 8,30 |
| 149B007937 | 200 | 40 | 40 | 200 | 15 | 100 | 550,0 | 8,30 |
| 149B3046 | 250 | 16/40 | 40 | 916,0 | 7,30 | |||
| 149B007938 | 250 | 25 | 25 | 916,0 | 7,30 | |||

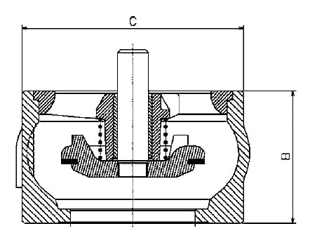
| Код | DN, мм | В, мм | С, мм | Масса, кг |
|---|---|---|---|---|
| 149B3040 | 65 | 75 | 126 | 2,70 |
| 149B3041 | 80 | 85 | 142 | 4,00 |
| 149B3042 | 100 | 105 | 170 | 6,00 |
| 149B3043 | 125 | 90 | 194 | 7,00 |
| 149B3044 | 150 | 106 | 222 | 11,00 |
| 149B3045 | 200 | 140 | 273 | 22,00 |
| 149B007936 | 200 | 140 | 285 | 22,00 |
| 149B007937 | 200 | 140 | 289 | 22,00 |
| 149B3046 | 250 | 200 | 352 | 47,00 |
| 149B007938 | 250 | 200 | 339 | 47,00 |

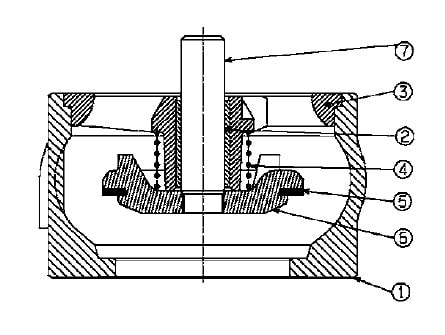
| № | Деталь | Материал | EURO | ANSI |
|---|---|---|---|---|
| 1 | Корпус | Чугун с эпоксидным покрытием | EN-GJS-400.15 | ASTM A 536 60-40-18 |
| 2 | Втулка | Бронза | CuSn12 | |
| 3 | Направляющая | Чугун с покрытием | EN-GJL-250 | ASTM A 48 35 B |
| 4 | Пружина | Нержавеющая сталь | X10CrNi18-8 | AISI 302 |
| 5 | Уплотнение | EPDM | ||
| 6 | Запирающая система DN 65 Остальные диаметры | Бронза Чугун с покрытием | CuSn5Zn5Pb5-C EN-GJL-250 | ASTM B 505 ASTM A 48 35 B |
| 7 | Ось | Бронза | CuSn5Zn5Pb5-C | ASTM B 505 |
