Клапаны обратные, тип 402, система 02

Обратные пружинные клапаны тип 402, фланцевые являются элементами трубопроводной арматуры и используются для предотвращения обратного потока рабочей жидкости, которая транспортируется по магистрали. Он беспрепятственно пропускает жидкость в прямом направлении и полностью блокирует ее движение в обратном направлении. Клапан герметично перекрывает диаметр трубопровода при смене потоком жидкости направления на обратное.
Благодаря обратным клапанам удается предотвратить протекание жидкости при аварии на определенном участке трубопровода. С помощью клапана также поддерживается давление в магистрали при аварийном падении давления на смежных участках.
Применяется клапан в трубопроводах, которые используются для обеспечения водоснабжения (холодного и горячего), систем отопления и водяного пожаротушения.
Конструкция клапана обратного позволяет выполнять монтаж его в любом положении.
Широкая популярность и постоянная востребованность этого изделия трубопроводной арматуры, обусловлена рядом положительных характеристик обратного затвора:
- низкие потери напора (давления) благодаря минимальному сопротивлению потоку рабочей жидкости;
- отсутствие акустических шумов при работе;
- компактные размеры обеспечивают простоту и легкость монтажа;
- высокая надежность изделия при продолжительной эксплуатации;
- отсутствие необходимости регулярного обслуживания;
- хорошая устойчивость;
- наличие возвратной пружины обеспечивает плавность хода штока;
- отсутствие гидравлических ударов;
- имеет удлиненную осевую направляющую для недопущения смещения затвора;
- высокая герметичность, которая обеспечивается благодаря качественному, плоскому уплотнению.
Соединяется обратный затвор с трубопроводом при помощи фланцев. Допускается эксплуатация изделия при температуре рабочей жидкости в диапазоне от минус 10°С до плюс 60°С при постоянной работе. Кратковременно (не больше 5 минут) допускается работа с жидкостью, которая имеет температуру до 100°С. Изделие рассчитано на максимальное давление до 16 Бар. В качестве рабочей среды допускается использование только чистой жидкости.
Качество и производительность изделия подтверждается многими европейскими сертификатами и международными строительными стандартами. Фланцы изготавливаются в строгом соответствии с ГОСТ 12815. Для решения множества задач клапаны обратные, тип 402 выпускаются с диаметром от 40,0 мм до 500,00 мм.
Корпус и направляющая клапана изготовлены их чугуна, имеющего эпоксидное покрытие. Возвратная пружина из высокопрочной стали. При изготовлении уплотнения используется специальный каучук. Детали запирающей системы изготовлены из бронзы и латуни.
Для систем отопления, горячего и холодного водоснабжения и водяного пожаротушения
- работает в любом монтажном положении;
- характеризуется низкими потерями напора;
- не создает гидравлические удары;
- длинная осевая направляющая для исключения смещения затвора;
- превосходная герметичность обеспечивается плоским уплотнением
Технические данные
- Соединение: фланцевое (см. таблицу)
- Допустимое рабочее давление PFA для воды (снабжение, распределение и потребление воды): см. таблицу
- Температура: -10...+100 °С
- Рабочая среда: чистые жидкости
- Сертификаты: VERITAS (France); ACS (France); VA (Denmark); WRAS (UK); Conformity (Europe)
- Международные строительные стандарты: CE Conformity Directive 97/23/CE
- Исполнение фланцев согласно EN1092-2 (соответствует ГО—Т 12815)
| Код | DN, мм | PN | PFA, бар | Давление открытия, мм водного столба | Kv, м3/ч | ζ | |||
|---|---|---|---|---|---|---|---|---|---|
| ↑ | ↓ | ↔ | без пружины | ||||||
| 065В7470 | 40 | 10/16 | 16 | 440 | 210 | 320 | 120 | 47,0 | 1,80 |
| 065В7471 | 50 | 10/16 | 16 | 440 | 220 | 330 | 110 | 99,0 | 1,00 |
| 065В7472 | 65 | 10/16 | 16 | 450 | 190 | 320 | 130 | 159,0 | 1,10 |
| 065В7473 | 80 | 10/16 | 16 | 450 | 190 | 320 | 130 | 222,0 | 1,30 |
| 065В7474 | 100 | 10/16 | 16 | 500 | 240 | 370 | 130 | 396,0 | 1,00 |
| 065В7475 | 125 | 10/16 | 16 | 510 | 210 | 360 | 150 | 619,0 | 1,00 |
| 065В7476 | 150 | 10/16 | 16 | 550 | 210 | 380 | 170 | 890,0 | 1,00 |
| 065В7477 | 200 | 10 | 10 | 590 | 210 | 400 | 190 | 1120,0 | 2,00 |
| 065В7478 | 250 | 10 | 10 | 710 | 210 | 460 | 250 | 2010,0 | 1,50 |
| 065В7479 | 300 | 10 | 10 | 820 | 90 | 460 | 365 | 2459,0 | 2,10 |
| 065В7480 | 350 | 10 | 10 | 860 | 100 | 480 | 380 | 2843,0 | 2,90 |
| 065В7481 | 400 | 10 | 10 | 800 | 50 | 410 | 390 | 4370,0 | 2,10 |
| 065В7482 | 500 | 10 | 10 | 1030 | 0 | 430 | 580 | 6914,0 | 2,05 |

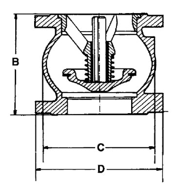
| Код | DN, мм | В, мм | С, мм | D, мм | Масса, кг |
|---|---|---|---|---|---|
| 065В7470 | 40 | 85 | 80 | 150 | 4,20 |
| 065В7471 | 50 | 100 | 97 | 165 | 5,80 |
| 065В7472 | 65 | 120 | 125 | 185 | 8,10 |
| 065В7473 | 80 | 140 | 150 | 200 | 10,20 |
| 065В7474 | 100 | 170 | 187 | 220 | 14,50 |
| 065В7475 | 125 | 200 | 220 | 250 | 24,00 |
| 065В7476 | 150 | 230 | 250 | 285 | 32,00 |
| 065В7477 | 200 | 289 | 340 | 340 | 53,00 |
| 065В7478 | 250 | 354 | 420 | 405 | 94,00 |
| 065В7479 | 300 | 396 | 490 | 460 | 140,00 |
| 065В7480 | 350 | 473 | 586 | 533 | 225,00 |
| 065В7481 | 400 | 560 | 680 | 597 | 312,00 |
| 065В7482 | 500 | 750 | 880 | 670 | 540,00 |

| № | Деталь | Материал | EURO | ANSI |
|---|---|---|---|---|
| 1 | Корпус | Чугун с эпоксидным покрытием | EN-GJL-250 | ASTM A 48 35 B |
| 2 | Втулка | Бронза | CuSn12-C | |
| 3 | Направляющая DN 50 | Бронза | CuSn5Zn5Pb5-C | |
| Остальные диаметры | Чугун с покрытием | EN-GJL-250 | ASTM A 48 35 B | |
| 4 | Пружина | Нержавеющая сталь | X10CrNi18-8 | AISI 302 |
| 5 | Уплотнение | EPDM | ||
| 6 | Запирающая система DN 40 | Латунь | CuZn40Pb2 | ASTM |
| DN 50-65 | Бронза | CuSn5Zn5Pb5-C | ASTM B 505 | |
| Остальные диаметры | Чугун с покрытием | EN-GJL-250 | ASTM A 48 35 B | |
| 7 | Ось | Бронза | CuSn5Zn5Pb5-C | ASTM B 505 |
